HOME>>Products>>Air Filtration>>Filter Housings>>Stainless Steel Gas Sterile Filter Housings

Direction of air flow:Follow the arrow direction on housing, from inside to outside of filter, for installation.

Manual drain eliminates water regularly, and steamed by-pass valve is disposition for selection.

Compressed air should be liquid, impurities and oil-free beforeg injecting into the housing, and 3-stages qualified pre-filtration is required for sterile filter.

Do sterilization regularly:1~2 times a week, 20~30mins each time. Utilizing sterile filter,which is under critical proccess of clean steam with 1 micron rating, ex. steam temperature < 130℃ ,pressure < 2.5bar. If steamed pressure is higher than designed one,and then pressure reduced valve should be distributed.

Used sterile filter must be drying by clean compressed air, and increases pressure by opening valve steadily before reuse.

Filter replacement should be done when pressure drop reaches 0.7~1 bar or 50 times steam sterilization.

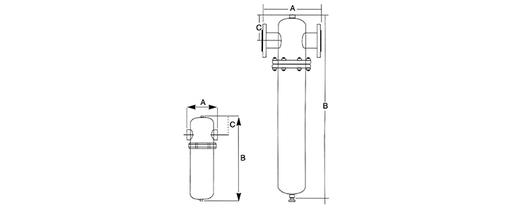
Specifications
Type Flow Rate
m3/Min
Inlet/Outlet Dimensions(mm) Element Model
A B C
AZ-15G-1 1 DN15 180 340 80 EAZ-1
AZ-20G-2 2 DN20 180 340 80 EAZ-2
AZ-25G-3 3 DN25 180 340 80 EAZ-3
AZ-40F-6 6 DN40 240 570 100 EAZ-6
AZ-40F-9 9 DN40 240 570 100 EAZ-9
AZ-50F-12 12 DN50 240 820 100 EAZ-12
AZ-50F-15 15 DN50 240 1080 100 EAZ-15
AZ-50F-18 18 DN50 240 1080 100 EAZ-18
AZ-80F-24 24 DN80 420 920 150 EAZ-12x2
AZ-80F-30 30 DN80 420 1080 150 EAZ-15x2
AZ-100F-45 45 DN100 420 1080 150 EAZ-15x3
AZ-100F-54 54 DN100 420 1200 150 EAZ-18x3


Lowest Inlet Pressure(bar) 1 3 5 7 9
Correctional Parameter 0.3 0.5 0.8 1 1.2
e.g:Air pressure 5 bar, air flow 6M3/Min,if correctional parameter Q=0.8, then air flow 6/0.8=7.5M3/Min.
According to proper principle of enlargement, Filter Type AZ-40F-9 is applicable.